Description:
A membrane-less device enabling liquid-liquid and gas-liquid separation without requiring gravity
Background
The separation of mixtures of fluid phases, particularly liquid-liquid and gas-liquid extraction, is relevant to many industrial chemical and biochemical processes, including fuels production, pharmaceuticals, and hydrometallurgy. Many solvent extraction processes, however, are reliant on costly and bulky equipment which requires considerable investment. Furthermore, this equipment may rely on gravitational forces, membranes, or other components that impose restrictions on the use of these technologies and may be impractical in situations where rapid design and implementation is required. Therefore, to reduce the costs associated with the separation of fluid phases, to improve the reliability of this process, and to allow this process to be conducted on a more flexible basis, more robust and readily designed and manufactured devices capable of achieving high throughput through parallel operation are needed in the field of fluid separations.
Technology Description
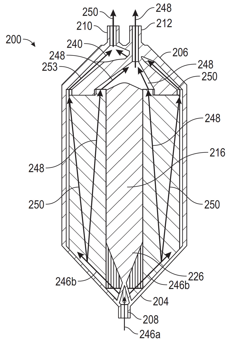
This device is used for the physical separation of fluid mixtures that form separate phases (that is, immiscible or nearly immiscible fluids), such as mixtures of aqueous and organic fluids, mixtures of gas and liquid phases, mixtures of metallic brines, and/or ionic liquids. These devices may comprise one or more capillary channels that separate insoluble fluid phases that may wet the walls of capillary channels differently. Such capillary pressure can cause phases with different contact angles with the channels to physically separate as a mixture of such phases passes through the channels. The channel walls can further be coated with materials of varying surface energies tailored to the desired separation. Methods for using the devices for fluid phase separation are also described. The device can further perform liquid-liquid and gas-liquid chemical extraction and separation without the need for membranes and without the need for gravity- or buoyancy-driven phase separation. It is a modular, high-throughput, and integrative microfluidic platform. The result is a more energy efficient process, one that has extremely short residence times, resulting in a smaller unit footprint and yet with more robust operation than comparable intensified technologies that rely on membranes.

Benefits
- Compact form factor compared to existing technologies
- Membrane-free, reducing fouling and clogging issues
- 3D printable and low cost
- Higher throughput and processing capacity/span
Applications
- Chemical and pharmaceutical manufacturing
- Renewable fuels
- Alcohol extraction
- Lithium extractionspan
Opportunity
OSU is seeking development and commercialization partners to improve TRL in specific applications.
Status
Patent application submitted 18/821,406